
★日本EAGLE CLAMP公司成立于1962年(昭和37年)9月25日,其生产的产品采用可追溯至日本国家基准的专用试验机,进行最大使用载荷2.5倍的验证负荷试验,并实施洛氏硬度试验、阿姆斯勒拉伸试验机的破坏性试验,保持极高的证据等级,并于2000年4月成功取得ISO9001认证。
★日本鹰牌EAGLE CLAMP龙海起重工具有限公司代理,自2012年开始销售日本鹰牌EAGLE CLAMP产品,保证不做假货、仿货、拆件货,原装进口假一罚百,附带原厂检测报告说明书及合格证等原厂文件。
★EAGLE CLAMP FHA型横吊钢板钳,载重100kg-3t,有效板厚度5-60mm,拥有5倍以上安全系数,型钢捆吊专用钢板钳,替代达摩挂钩。
★用途:搬运、吊装、扶正、水平移动
★适用材料:型钢、H型钢

●使用EAGLE CLAMP FHA型横吊钢板钳,不会损伤吊运物
●EAGLE CLAMP FHA型横吊钢板钳配备压紧凸轮(专利机构),操作更安全
●EAGLE CLAMP FHA型横吊钢板钳,最小适用型钢规格:100H×5t
●使用注意事项
严禁单点吊装。请使用两个以上的偶数个夹钳,并安装于重心两侧对称位置。




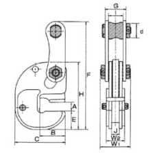
型式 | 使用荷重kg | 有效板厚 mm | 尺寸mm | 质量 kg |
A | B | C | D | E | F | G | H | I | J | W1 | W2 |
FHA-0.5 | 100~500 | 5~15 | 5~18 | 28 | 76.6 | Φ26 | 30 | 175~189 | 40 | 122.5 | 28 | 14 | 55 | 26 | 1.6 |
FHA-1.0 | 200~1000 | 10~20 | 10~23 | 60 | 120 | Φ30 | 46 | 230~245 | 47 | 167 | 31 | 17 | 71 | 41 | 3.9 |
FHA-1.5 | 300~1500 | 22~32 | 22~35 | 65 | 126 | Φ34 | 45 | 247~262 | 54 | 170 | 38 | 20 | 78 | 48 | 5.5 |
FHA-2.5 | 500~2500 | 35~45 | 35~48.5 | 73 | 141 | Φ52 | 55 | 310~326 | 67 | 216 | 47 | 25 | 94 | 61 | 10 |
FHA-3 | 600~3000 | 45~60 | 45~64 | 89 | 168 | Φ58 | 58 | 365~391 | 74 | 265 | 54 | 28 | 103 | 72 | 15.5 |

EAGLE CLAMP FHA型横吊钢板钳为日本原装进口产品,保质1年,我公司承诺凡是客户在我公司定购的进口类产品均为原装正品,绝不存在拆件货,换件货,假冒品牌产品,凡客户从我公司定购 EAGLE CLAMP产品如收到货物时发现有拆件货,换件货,假冒、假货仿货均以100倍金额赔偿。