
★日本EAGLE CLAMP公司成立于1962年(昭和37年)9月25日,其生产的产品采用可追溯至日本国家基准的专用试验机,进行最大使用载荷2.5倍的验证负荷试验,并实施洛氏硬度试验、阿姆斯勒拉伸试验机的破坏性试验,保持极高的证据等级,并于2000年4月成功取得ISO9001认证。
★日本鹰牌EAGLE CLAMP龙海起重工具有限公司代理,自2012年开始销售日本鹰牌EAGLE CLAMP产品,保证不做假货、仿货、拆件货,原装进口假一罚百,附带原厂检测报告说明书及合格证等原厂文件。
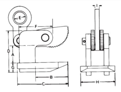
★EAGLE CLAMP HOW型横吊钢板钳,水平吊运专用,载重400kg-2.5t,有效板厚度15-60mm,拥有5倍以上安全系数。
★用途:水平吊运、搬运
★适用材料:已捆扎的钢板、厚钢板、厚壁法兰


●EAGLE CLAMP HOW型横吊钢板钳,采用高强度、高韧性合金钢造,质量坚固,使用寿命长。
●EAGLE CLAMP HOW型横吊钢板钳,采用双凸轮结构。
●使用注意事项:必须使用3个以上并采取对称安装方式作业。



型式 | 使用荷重kg | 有效板厚 mm | 尺寸mm | 质量 kg |
A | B | C | D | E | F | G | H | I |
HOW-2 | 400~2000 | 15~60 | 65 | 140 | 220 | 180 | 50 | 148 | 40 | 150 | 19 | 17.6 |
HOW-2.5 | 500~2500 | 15~60 | 65 | 140 | 220 | 180 | 50 | 148 | 40 | 150 | 19 | 18.3 |

EAGLE CLAMP HOW型横吊钢板钳为日本原装进口产品,保质1年,我公司承诺凡是客户在我公司定购的进口类产品均为原装正品,绝不存在拆件货,换件货,假冒品牌产品,凡客户从我公司定购 EAGLE CLAMP产品如收到货物时发现有拆件货,换件货,假冒、假货仿货均以100倍金额赔偿。