
★日本EAGLE CLAMP公司成立于1962年(昭和37年)9月25日,其生产的产品采用可追溯至日本国家基准的专用试验机,进行最大使用载荷2.5倍的验证负荷试验,并实施洛氏硬度试验、阿姆斯勒拉伸试验机的破坏性试验,保持极高的证据等级,并于2000年4月成功取得ISO9001认证。
★日本鹰牌EAGLE CLAMP龙海起重工具有限公司代理,自2012年开始销售日本鹰牌EAGLE CLAMP产品,保证不做假货、仿货、拆件货,原装进口假一罚百,附带原厂检测报告说明书及合格证等原厂文件。
★EAGLE CLAMP HOS型横吊钢板钳,轻量化、装卸便捷的钩式水平吊装夹具,载重100kg-2.5t,有效板厚度8-60mm,拥有5倍以上安全系数。
★用途:水平吊装、搬运
★适用部件/材料:钢板、铺路钢板


●EAGLE CLAMP HOS型横吊钢板钳是一款专为钢板及其他金属板材水平吊运而设计的轻量化夹钳。其精巧的结构设计在保证安全承载的前提下,有效控制了工具自重,大幅降低了操作人员的劳动强度,提升了搬运效率。
●EAGLE CLAMP HOS型横吊钢板钳核心特点在于其带凸轮自锁功能的挂钩机构。此机构在承受载荷时可自动锁定,产生强大的夹持力,确保被吊运的钢板在起升与平移过程中始终保持稳固,有效防止因意外松脱而引发的安全事故。
●在材质与工艺方面,EAGLE CLAMP HOS型横吊钢板钳的关键承力部件均采用特种合金钢制造,并经过精密的调质热处理工艺。这不仅赋予了其远超普通钢制工具的抗拉强度与硬度,还使其具备了优异的韧性,能够耐受高频率的循环作业,从而实现了卓越的耐用性与超长的使用寿命。
●注意:为确保吊运过程的绝对平衡与安全,必须至少以三个为一套配合使用。



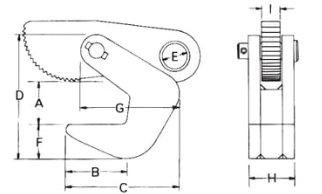
型式 | 使用荷重kg | 有效板厚 mm | 尺寸mm | 质量 kg |
A | B | C | D | E | F | G | H | I |
HOS-500 | 100~500 | 8~40 | 43 | 61 | 118 | 127 | 25 | 37 | 103 | 46 | 19 | 3.2 |
HOS-1 | 200~1000 | 8~40 | 43 | 61 | 119 | 128 | 25 | 38 | 104 | 61 | 22 | 3.8 |
HOS-1.5 | 300~1500 | 8~50 | 53 | 65 | 133 | 152 | 30 | 42 | 118 | 72 | 25 | 6 |
HOS-2.5 | 500~2500 | 10~60 | 67 | 65 | 142 | 178 | 30 | 43 | 119 | 96 | 28 | 9.2 |

EAGLE CLAMP HOS型横吊钢板钳为日本原装进口产品,保质1年,我公司承诺凡是客户在我公司定购的进口类产品均为原装正品,绝不存在拆件货,换件货,假冒品牌产品,凡客户从我公司定购 EAGLE CLAMP产品如收到货物时发现有拆件货,换件货,假冒、假货仿货均以100倍金额赔偿。